Porsche - Brevet 2026 : une idée originale pour sauver la boîte manuelle - Actualités du luxe - actualités sur le luxe - actualité du luxe
Home Actualités Porsche – Brevet 2026 : une idée originale pour sauver la boîte manuelle
ActualitésAutomobileCultureCulture & ArtLifestyle

Porsche – Brevet 2026 : une idée originale pour sauver la boîte manuelle

Porsche défie l'électrification en cherchant à sauver la boîte manuelle. Un brevet audacieux révèle une transmission combinant modes manuel et automatique, offrant le meilleur des deux mondes pour les puristes.

Share
Share

L’univers automobile est en pleine mutation. Entre l’électrification grandissante et la prépondérance des transmissions automatiques, la boîte de vitesses manuelle, symbole par excellence d’une connexion intime entre le conducteur et sa machine, semble irrémédiablement condamnée. Pourtant, quelques bastions de résistance subsistent, et parmi eux, l’illustre maison de Stuttgart. Porsche, forte de son héritage et de son engagement envers une clientèle puriste, explore une voie audacieuse pour concilier tradition et modernité, plaisir de piloter et facilité d’usage. Un brevet déposé discrètement pourrait bien réécrire le scénario de cette transmission iconique, offrant le meilleur des deux mondes dans un même bolide.

Porsche - Brevet 2026 : une idée originale pour sauver la boîte manuelle - Actualités du luxe - actualités sur le luxe - actualité du luxe

Le déclin de la boîte manuelle et la résistance de Porsche

S’il ne fait désormais absolument plus aucun doute que le sort de la boîte de vitesses manuelle est scellé pour la majeure partie des automobiles, cette transmission à l’ancienne étant progressivement remplacée, quelques marques font encore de la résistance. En matière de bolides d’exception et de sportives, pouvoir encore dompter la mécanique et maîtriser parfaitement les montées en régime demeure le souhait d’une part non négligeable de la clientèle. Une communion que seule une grille en H et une pédale d’embrayage peuvent offrir, transformant chaque trajet en une expérience sensorielle et engageante.

L’histoire de Porsche avec la boîte manuelle est parsemée de ces dilemmes. En 2013, la décision controversée d’abandonner cette transmission sur la 911 GT3 de type 991, imposant alors la double-embrayage PDK à sept rapports, avait soulevé un tollé parmi les aficionados. Le retour de bâton fut tel que Porsche dut faire machine arrière, proposant à nouveau la boîte de vitesses mécanique sur plusieurs variantes de la 991 restylée à compter de 2016. Une preuve éclatante de l’attachement indéfectible de certains à ce geste ancestral. Tandis que d’une manière générale, l’électrification du marché, du véhicule hybride jusqu’à celui 100% à batterie, rend en effet la boîte de vitesse manuelle techniquement inutile et commercialement marginale.

Porsche - Brevet 2026 : une idée originale pour sauver la boîte manuelle - Actualités du luxe - actualités sur le luxe - actualité du luxe

Une innovation audacieuse : la boîte manuelle hybride de Porsche

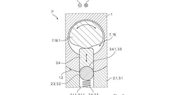
C’est dans ce contexte délicat que Porsche a déposé, le 30 août 2024, un brevet de propriété industrielle — rendu public le 5 mars 2026 — d’une boîte de vitesses manuelle avec une classique grille en H, mais incluant également un mode de conduite totalement automatique. L’idée serait d’avoir le meilleur des deux mondes dans le même véhicule, permettant au conducteur de basculer de l’un à l’autre selon les conditions de circulation, l’humeur du moment ou le désir d’une expérience de conduite plus ou moins immersive. Une promesse de polyvalence qui pourrait séduire les puristes comme les adeptes du confort moderne.

Porsche - Brevet 2026 : une idée originale pour sauver la boîte manuelle - Actualités du luxe - actualités sur le luxe - actualité du luxe

L’exemple de Koenigsegg : une technologie avant-gardiste

Dans les faits, ce projet n’est pas totalement inédit puisque le constructeur suédois d’hypercars, Koenigsegg, propose déjà une technologie similaire sur ses bolides CC850 et Chimera. La première, dont la production fut limitée à 70 unités, est arrivée en 2022. La seconde est une réalisation unique, présentée à l’été 2024. Koenigsegg a ainsi démontré la faisabilité technique d’une telle prouesse, ouvrant la voie à d’autres constructeurs désireux de repousser les limites de l’ingénierie automobile.

Ces modèles suédois très rares, dont la puissance dépasse allègrement les 1 000 chevaux sans l’aide de l’électrique, et dont les prix de ventes atteignent plusieurs millions d’euros, permettent au constructeur de rentabiliser pleinement les investissements en matière de recherche et de développement d’une telle transmission ultra sophistiquée. Une friandise technologique qui, de surcroît, rend encore plus attractive l’atypique hypercar suédoise. Car dans le détail, la boîte de vitesses à la fois manuelle et automatique conçue en interne par Koenigsegg ne recèle pas moins de six embrayages individuels et trois arbres associés à un pilotage électronique de haut vol.

Porsche - Brevet 2026 : une idée originale pour sauver la boîte manuelle - Actualités du luxe - actualités sur le luxe - actualité du luxe

Les enjeux de l’intégration pour Porsche

Cet arsenal d’une complexité rare représente un véritable tour de force d’ingénierie. Un tel système est viable dans un segment où l’exclusivité et la performance absolue priment sur toute autre considération. Mais comment transposer cette excellence technologique dans le catalogue de Porsche, dont les volumes de production et les prix sont sans commune mesure ? Un défi de taille, car il est impensable de retrouver une telle débauche de sophistication à bord d’une « simple » Porsche 911 coûtant 25 fois moins cher, et encore moins pour un Boxster plus accessible.

Porsche n’a évidemment pas la même latitude que Koenigsegg. La firme de Stuttgart devra être capable de proposer cette technologie au juste prix, d’autant que ses transmissions actuelles, qu’elles soient manuelles ou bien de type PDK, sont déjà d’une qualité et d’une fiabilité irréprochables, reconnues mondialement.

Si la technologie développée par Koenigsegg prouve la faisabilité d’une telle innovation, le défi pour Porsche réside dans son adaptation à des volumes de production plus importants et à des gammes de prix différentes. La marque de Stuttgart devra trouver un équilibre entre sophistication technique, coût de production et attentes des consommateurs pour démocratiser cette solution et véritablement sauver l’essence de la conduite manuelle.

Share
Related Articles

Le petit ami parfait et son compte Instagram privé: 9 adresses où le rencontrer

Dans cet article, découvre les lieux privilégiés où rencontrer l'homme discret au...

Un date au sauna: l’expérience inattendue qui bouscule les codes

Dans cet article, découvre le récit immersif d'une première rencontre dans un...

9 villas de rêve à louer dans les îles grecques cet été

Dans cet article, découvre une sélection exclusive de neuf villas d'exception nichées...

Voyager sans frais: ce sac à dos astucieux à moins de 30 euros change la donne

Dans cet article, découvrez comment un sac à dos ingénieux et abordable...